Роликовые однорядные и многорядные ПР, ПРА, ПРЛ, ПРН

Цепь приводная роликовая однорядная и многорядная – надежное приспособление, которое используется в различных сферах и отраслях промышленности. Исходя из параметров повышенной точности и прочности, выбирается модель цепи, идеально подходящая под определенные эксплуатационные условиях. Входящие в состав цепи ролики, которые свободно насаживаются на втулку, под воздействием передачи цепного типа занимают свое место в соответствующих впадинах звездочек, тем самым передавая им нагрузку, или же воспринимая нагрузку от них. В целях увеличения мощности привода стоит использовать многорядные роликовые цепи. Соединяются такие цепи посредством удлинительных валиков. То есть такая конструкция может выдерживать нагрузку, которая будет прямопропорциональна числу рядов. Важно отметить, что все цепи в процессе производства проверяются на вытяжку.
Цена: от 50 руб. за 1 п.м.
Пример условного обозначения при заказе
Цепь ПР-12,7-1820 ГОСТ 13568-75, что означает:
- ПР - приводная роликовая цепь
- 12,7 - шаг цепи, мм
- 1820 - разрушающая нагрузка , кг
Общее описание

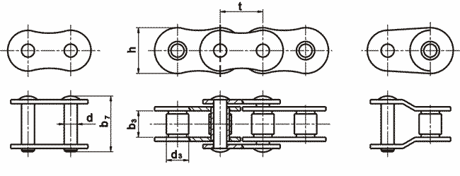
РИС. 1
Тип ПР

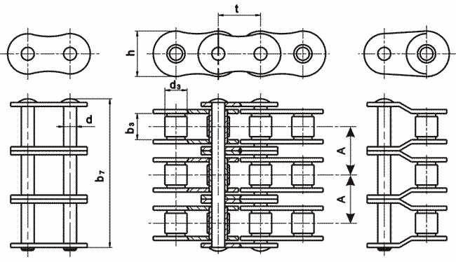
РИС. 2
Тип 2ПР

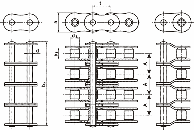
РИС. 3
Тип 3ПР

РИС. 4
Тип 4ПР
|
Обозначение цепи |
Основные параметры, мм |
Разрушающая нагрузка, кг |
Масса 1м цепи, кг |
||||||
|---|---|---|---|---|---|---|---|---|---|
|
t |
b3 |
d1 |
d3 |
h |
b7 |
A |
|||
|
Повышенной точности (типа ПР) |
|||||||||
|
ПР-8-460 |
8,00 |
3,00 |
2,31 |
5,00 |
7,5 |
14 |
|
460 |
0,20 |
|
ПР-9.525-910 |
9,525 |
5,72 |
3,28 |
6,35 |
8,5 |
17 |
|
910 |
0,45 |
|
ПР-12,7-900-2 |
12,7 |
3,3 |
3,66 |
7,75 |
10,0 |
12 |
|
900 |
0,35 |
|
ПР-12,7-1000 |
12,7 |
2,4 |
3,66 |
7,75 |
10,0 |
10,5 |
|
1000 |
0,30 |
|
ПР-12,7-1820-1 |
12,7 |
5,4 |
4,45 |
8,51 |
11,8 |
19 |
|
1820 |
0,65 |
|
ПР-12,7-1820-2 |
12,7 |
7,75 |
4,45 |
8,51 |
11,8 |
21 |
|
1820 |
0,75 |
|
2ПР-12,7-3180 |
12,7 |
7,75 |
4,45 |
8,51 |
11,8 |
35 |
13,92 |
3180 |
1,4 |
|
ЗПР-12,7-4540 |
12,7 |
7,75 |
4,45 |
8,51 |
11,8 |
50 |
13,92 |
4540 |
2,0 |
|
ПР-15,875-2300-1 |
15,875 |
6,48 |
5,08 |
10,16 |
14,8 |
20 |
|
2300 |
0,8 |
|
ПР-15,875-2300-2 |
15,875 |
9,65 |
5,08 |
10,16 |
14,8 |
24 |
|
2300 |
1,0 |
|
2ПР-15,875-4540 |
15,875 |
9,65 |
5,08 |
10,16 |
14,8 |
41 |
16,59 |
4540 |
1,9 |
|
ЗПР-15,875-6810 |
15,875 |
9,65 |
5,08 |
10,16 |
14,8 |
57 |
16,59 |
6810 |
2,8 |
|
ПР-19,05-3180 |
19,05 |
12,7 |
5,94 |
11,91 |
17,0 |
33 |
|
3180 |
1,9 |
|
2ПР-19,05-6400 |
19,05 |
12,7 |
5,96 |
11,91 |
18,2 |
53,4 |
22,78 |
6400 |
2,9 |
|
2ПР-19,05-7500 |
19,05 |
12,7 |
5,94 |
11,91 |
17,0 |
54 |
25,5 |
7500 |
3,35 |
|
ЗПР-19,05-9600 |
19,05 |
12,7 |
5,96 |
11,91 |
18,08 |
76,2 |
22,78 |
9600 |
4,3 |
|
4ПР-19,05-12800 |
19,05 |
12,7 |
5,94 |
11,91 |
18,08 |
101,9 |
22,78 |
12800 |
5,75 |
|
4ПР-19,05-15500 |
19,05 |
12,7 |
5,94 |
11,91 |
17 |
104,8 |
25,5 |
15500 |
6,78 |
|
ПР-25,4-6000 |
25,4 |
15,88 |
7,92 |
15,88 |
24,2 |
39 |
|
6000 |
2,6 |
|
2ПР-25,4-11400 |
25,4 |
15,88 |
7,92 |
15,88 |
24,2 |
68 |
29,29 |
11400 |
5,0 |
|
ЗПР-25,4-17100 |
25,4 |
15,88 |
7,92 |
15,88 |
24,2 |
98 |
29,29 |
17100 |
7,5 |
|
ПР-31,75-8900 |
31,75 |
19,05 |
9,53 |
19,05 |
30,2 |
46 |
|
8900 |
3,8 |
|
2ПР-31,75-17700 |
31,75 |
19,05 |
9,53 |
19,05 |
30,2 |
82 |
35,76 |
17700 |
7,3 |
|
ЗПР-31,75-26550 |
31,75 |
19,05 |
9,53 |
19,05 |
30,2 |
120 |
35,76 |
26550 |
11 |
|
ПР-35-5000 |
35 |
22,0 |
9,15 |
22,0 |
24,0 |
40,5 |
|
5000 |
|
|
ПР-38,1-12700 |
38,1 |
25,4 |
11,1 |
22,23 |
36,2 |
58 |
|
12700 |
5,5 |
|
ПР-44,45-17240 |
44,45 |
25,4 |
12,7 |
25,4 |
42,4 |
62 |
|
17240 |
7,5 |
|
ПР-50,8-22700 |
50,8 |
31,75 |
14,27 |
28,58 |
48,3 |
72 |
|
22700 |
9,7 |
|
Нормальной точности (типа ПРА) |
|||||||||
|
ПРА-38,1-12700 |
38,1 |
25,4 |
11,1 |
22,23 |
36,2 |
58 |
|
12700 |
5,5 |
|
2П PA-38,1-25400 |
38,1 |
25,4 |
11,1 |
22,23 |
36,2 |
104 |
45,44 |
25400 |
11 |
|
ЗП PA-38,1-38100 |
38,1 |
25,4 |
11,1 |
22,23 |
36,2 |
150 |
45,44 |
38100 |
16,5 |
|
ПРА-44,45-17240 |
44,45 |
25,4 |
12,7 |
25,4 |
42,4 |
62 |
|
17240 |
7,5 |
|
2П PA-44,45-34480 |
44,45 |
25,4 |
12,7 |
25,4 |
42,24 |
110 |
48,87 |
34480 |
14,4 |
|
ЗПР-44,45-51780 |
44,45 |
25,4 |
12,7 |
25,4 |
42,24 |
160 |
48,87 |
51720 |
21,7 |
|
ПPA-50,8-22700 |
50,8 |
31,75 |
14,27 |
28,58 |
48,3 |
72 |
|
22700 |
9,7 |
|
2ПPA-50,8-45360 |
50,8 |
31,75 |
14,27 |
28,58 |
48,3 |
130 |
58,55 |
45360 |
19,1 |
|
ЗПPA-50,8-68040 |
50,8 |
31,75 |
14,27 |
28,58 |
48,3 |
190 |
58,55 |
68040 |
28,3 |
|
ПРА-63,5-35400 |
63,5 |
38,1 |
19,84 |
39,68 |
60,4 |
89 |
|
35400 |
16,0 |
|
Легкой серии (типа ПРЛ) |
|||||||||
|
ПРЛ-38,1-10700 |
38,1 |
25,4 |
11,1 |
22,23 |
36,2 |
58 |
|
10700 |
5,5 |
|
ПРЛ-44,45-13700 |
44,45 |
25,4 |
13,7 |
25,4 |
42,4 |
62 |
|
13700 |
7,5 |
|
2ПРЛ-44,45-25000 |
44,45 |
25,4 |
13,7 |
25,4 |
42,4 |
110 |
48,87 |
25000 |
|
|
ЗПРЛ-44,45-38000 |
44,45 |
25,4 |
13,7 |
25,4 |
42,4 |
160 |
48,87 |
38000 |
|
|
Повышенной точности и прочности (нормального типа ПРН). ТУ 3-2160-90 |
|||||||||
|
1ПРН-25,4-6500 |
25,4 |
15,88 |
8,02 |
15,88 |
24,13 |
33,6 |
|
6500 |
2,62 |
|
2ПРН-25.4-13000 |
25,4 |
15,88 |
8,02 |
15,88 |
24,13 |
62,6 |
29,29 |
13000 |
5,24 |
|
ЗПРН-25,4-19500 |
25,4 |
15,88 |
8,02 |
15,88 |
24,13 |
92,6 |
29,29 |
19500 |
7,86 |
|
4ПРН-25,4-26000 |
25,4 |
15,88 |
8,02 |
15,88 |
24,13 |
244,1 |
29,29 |
26000 |
10,48 |
|
1 ПРН-31,75-10000 |
31,75 |
19,05 |
9,62 |
19,05 |
30,18 |
39,9 |
|
10000 |
4,2 |
|
2ПРН-31,75-20000 |
31,75 |
19,05 |
9,62 |
19,05 |
30,18 |
75,9 |
35,76 |
20000 |
8,4 |
|
ЗПРН-31,75-30000 |
31,75 |
19,05 |
9,62 |
19,05 |
30,18 |
111,9 |
35,76 |
30000 |
12,6 |
|
1 ПРН-38,1-15000 |
38,1 |
19,05 |
14,27 |
25,23 |
34,0 |
25 |
|
15000 |
5,51 |
|
1 ПРН-50,8-25000 |
50,8 |
31,75 |
14,27 |
28,58 |
48,26 |
64,1 |
|
25000 |
10,8 |
|
2ПРН-50,8-50000 |
50,8 |
31,75 |
14,27 |
28,58 |
48,26 |
122,1 |
58,55 |
50000 |
21,4 |
|
ЗПРН-50,8-75000 |
50,8 |
31,75 |
14,27 |
28,58 |
48,26 |
182,1 |
58,55 |
75000 |
32,1 |
|
4ПРН-50,8-100000 |
50,8 |
31,75 |
14,27 |
28,58 |
46,26 |
252,3 |
58,55 |
100000 |
38,9 |